您现在的位置是:主页 > 行业 >
华为成功注册花瓣支付商标
来源:新浪科技 2022-07-15 14:47:30 阅读:
提要华为成功注册花瓣支付商标。...

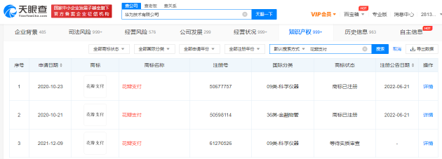
天眼查App显示,近日,华为技术有限公司申请的两枚“花瓣支付”商标进度变更为“已注册”,
两商标申请于2020年10月,国际分类为金融物管、科学仪器。
此外,华为于2021年12月再次申请科学仪器类“花瓣支付”商标,目前该商标状态为等待实质审查。
来源:新浪科技 2022-07-15 14:47:30 阅读:
提要华为成功注册花瓣支付商标。...

天眼查App显示,近日,华为技术有限公司申请的两枚“花瓣支付”商标进度变更为“已注册”,
两商标申请于2020年10月,国际分类为金融物管、科学仪器。
此外,华为于2021年12月再次申请科学仪器类“花瓣支付”商标,目前该商标状态为等待实质审查。